摘要:注册资本5000万,绍兴市低空综合服务有限公司于2026年4月正式成立,属国有控股企业。公司专注低空经济赛道,主营通用航空服务、智能无人飞行器销售及大数据开发,同时涵盖航空运营支持与系统集成。凭借国企背景与全链条服务能力,致力于打造低空飞行领域的综合服务平台。

图片来源:网络截图 爱企查
公司概况
公司名称:绍兴市低空综合服务有限公司
成立时间:2026年04月16日。
营业期限:2026-04-16至 无固定期限
注册资本:5000万人民币。
法人代表:黄国平
企业类型:有限责任公司(国有控股)
公司注册地:浙江省绍兴市越城区灵芝街道越西路1555号镜湖直江滨河公园直江水岸A座A1-2
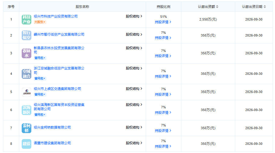
股东信息

图片来源:网络截图 爱企查
经营范围
一般项目:航空运营支持服务;航空商务服务;人工智能行业应用系统集成服务;信息咨询服务(不含许可类信息咨询服务);信息系统集成服务;信息系统运行维护服务;技术服务、技术开发、技术咨询、技术交流、技术转让、技术推广;软件开发;租赁服务(不含许可类租赁服务);蓄电池租赁;智能无人飞行器销售;人工智能应用软件开发;大数据服务;数据处理服务;人工智能公共数据平台;咨询策划服务(除依法须经批准的项目外,凭营业执照依法自主开展经营活动)。
许可项目:通用航空服务;民用航空器维修;民用航空维修人员培训;检验检测服务;测绘服务;城市配送运输服务(不含危险货物)(依法须经批准的项目,经相关部门批准后方可开展经营活动,具体经营项目以审批结果为准)。
小结
该公司依托绍兴越城区区位优势,以国有资本为背书,切入低空经济这一新兴领域。经营范围覆盖通用航空、智能装备、数据服务及租赁等,形成“运营+技术+服务”一体化布局,具备较强的政策响应能力与市场拓展潜力。
FAQ(常见问题解答)
Q1:这家公司主要做什么?
A:主营通用航空服务、智能无人飞行器销售、大数据开发、航空运营支持及系统集成等。
Q2:公司是什么性质?
A:国有控股企业,注册资本5000万人民币。
Q3:公司什么时候成立的?
A:2026年4月16日,营业期限为无固定期限。
Q4:公司在哪个位置?
A:浙江省绍兴市越城区灵芝街道镜湖直江滨河公园内。
Q5:公司能提供哪些许可类服务?
A:包括通用航空服务、民用航空器维修、飞行培训、检验检测、测绘及城市配送运输等。
内容来源:爱企查,仅供参考,无商业用途,请以公司实际经营为准。
发布者:低空经济网,欢迎各大媒体和自媒体,注册投稿低空经济相关信息,内容仅供参考,无商业用途,如侵权请告知即删,转发请注明出处:https://www.dikongjingji.com.cn/bk/5845.html