四川兴蜀启航低空经济股权投资基金合伙企业(有限合伙)百科
摘要:注册资本达17亿元人民币,2026年1月9日成立的四川兴蜀启航低空经济股权投资基金合伙企业(有限合伙)正式落户成都高新区。该基金由四川弘威股权投资和海南云惠私募基金共同管理,专注于低空经济领域的股权投资与资产管理,业务范围涵盖无人机、eVTOL等新兴产业。作为四川自贸试验区的重要金融载体,该基金的设立标志着成都在布局低空经济全产业链上迈出关键一步,将为西南地区低空经济发展提供强有力的资本支持。

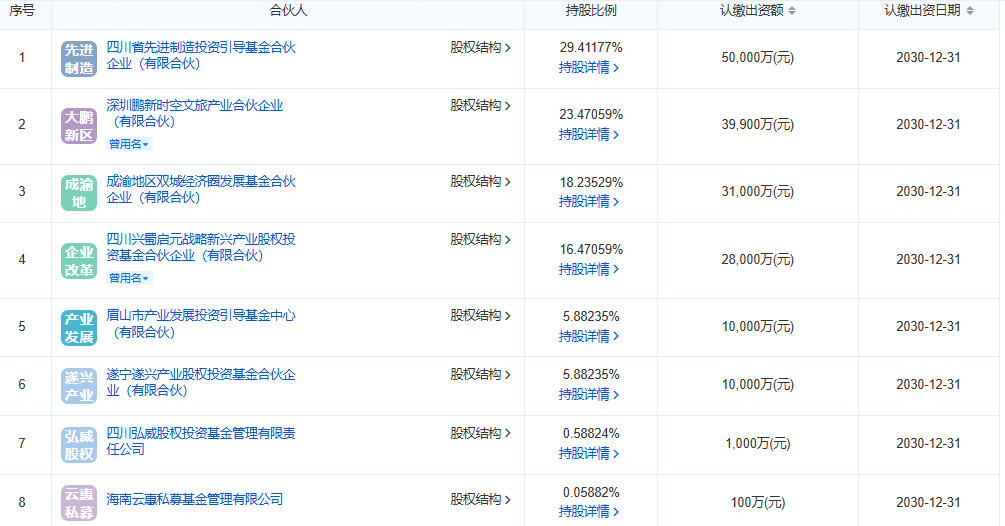
图片来源:网络截图 爱企查
公司概况
公司名称:四川兴蜀启航低空经济股权投资基金合伙企业(有限合伙)
成立时间:2026年01月09日。
营业期限:2026-01-09 至 无固定期限
注册资本:170,000万人民币。
执行事务合伙人:四川弘威股权投资基金管理有限责任公司、海南云惠私募基金管理有限公司
企业类型:有限合伙企业
公司注册地:中国(四川)自由贸易试验区成都高新区天府二街151号1栋2单元33层3301号

图片来源:网络截图 爱企查
经营范围
一般项目:以私募基金从事股权投资、投资管理、资产管理等活动(须在中国证券投资基金业协会完成登记备案后方可从事经营活动)。(除依法须经批准的项目外,凭营业执照依法自主开展经营活动)
内容来源:爱企查,仅供参考,无商业用途,请以公司实际经营为准。
发布者:低空经济网,欢迎各大媒体和自媒体,注册投稿低空经济相关信息,内容仅供参考,无商业用途,如侵权请告知即删,转发请注明出处:https://www.dikongjingji.com.cn/bk/5100.html
欢迎与我们联系
在这里,提交您的问题,我们会尽快联系您
如果急需回复,请致电400-188-0263